Radial Welded-on Outlets, Tangential Outlets, Bossed Outlets, and Thread-O-Lets.
Have you ever been involved in a project utilizing one of these various pipe outlet configurations? If so, you are likely aware of the special care these products require. If you haven’t been involved in a project requiring outlet piping, then within this blog we will explain the types of outlets available and the importance of the unloading, storage, and installation process.
What is a Welded Outlet?
A Welded Outlet is similar in function to a Tee fitting and can be used as an alternative to the Tee when specified. They are shop fabricated products and not intended for field fabrication. Essentially, a branch is welded to the exterior wall of the parent pipe located at least 24 inches from the face of the bell, and at least 18 inches from the end of the spigot to create the outlet pipe. When the application requires more than one outlet per joint of pipe, it is recommended that there be 24” of space between the outlets being welded onto the pipe.
Welded outlets come in various styles including:
- Radial Welded-on Outlets
- Tangential Welded-on Outlets
- Welded-on Bossed Outlets
- Thread-O-Let type Outlets
Radial and tangential outlets are fabricated from Class 53 ductile iron pipe, manufactured and tested in accordance with ANSI/AWWA C151/A21.51. Welded-on boss and thread-o-let connections are separate, more compact components made of either ductile iron or steel. The outlets are fabricated by professionals following the ANSI/AWS D11.2 Guide for Welding Iron Castings.
What are the Differences?
A Radial Outlet is very similar to a Tee fitting with the outlet being capable of placement at any point around the circumference of the pipe wall. For illustration purposes, it is typically shown in the 3 o’clock position along the barrel of the parent pipe if looking at the face of the bell. This placement of a radial outlet allows for the pipe to be “rolled” or “rotated” as needed during installation to position the outlet branch where required.
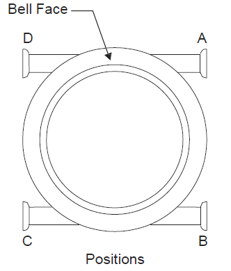
Different from radial outlets, Tangential Outlets are placed in one of four positions as shown below. Strategic positioning of the tangential outlet makes the Tangential Outlet pipe a viable alternative when installing blow-off valves and/or air release valves.
For example, the outlet would be on the bottom for a blow-off valve installation and on the top for an air release valve. Deciding on the location of the tangential outlet is very important prior to production. Positioning leaves limited solutions in the field if indeed the laying schedule changes for the project.
A Welded-on Bossed Outlet serves a similar function as the others except they are much shorter outlet branches. These are separate components manufactured by size with a circular edge to facilitate matching them to the outside diameter of the parent pipe. Bossed outlets are most commonly used in treatment plants, above-ground, or in manhole and vault installations.
Similar to a Radial Welded-On outlet, the Welded-on Bossed Outlet can be positioned at any point around the circumference of the pipe wall. As seen below, a common requirement when using flanged ductile iron pipe, is having the pipe “two –holed,” or level with both ends of the pipe.
Welded-on Bossed Outlets are only available in Flanged or Mechanical Joint connections. The mechanical joint or flange branch will be provided as tapped for studs in lieu of the normal hardware of T-head or hex head bolts. Please inquire with your local McWane Ductile representative to ensure you have the correct bolts.
A Thread-o-Let Outlet is also used in similar fashion as the others, except these outlets are fitted with female threads on the inside of the outlet branch. This threaded connection creates a better connection than would be achieved by tapping the wall of the pipe. Common uses for the Thread-o-Let would be for an air release valve, or potentially a drain plug.
Welded Outlet Design Guidelines
Now that we are more familiar with the products, let’s explore some guidelines and the importance of following these guidelines regarding welded outlet pipe.
- Welded outlet pipe are available in the following configurations, but it is always best to contact your local McWane Ductile representative regarding what patterns are currently available.
Note: If using a TR Flex connection, it is important to position the outlet so that it does not conflict with the bell slots.
- A welded outlet may be supplied with a flange for limited applications such as an air release manhole.
- Minimum wall thickness of pipe used in fabrication shall be Class 53.
- Piping systems with welded outlets must be designed in a way that bending loads are not applied to the outlet. Any restraint joint connections must be fully extended to avoid unpredictable loading and stress on the welded outlet. This must be done prior to making final connection. Additionally, the design should avoid applications where frequent vibration is possible.
- Unsupported cantilever loading is not allowed on welded outlets.
- The importance of proper installation cannot be stressed enough. Without proper support it is likely the outlet will break free of the parent pipe causing a leak and likely the need to remove and replace the assembly.
- Welded outlets shall not be subjected to impact or bending stresses during handling, storage, shipment installation, or operation.
- Proper shipping would require less than a typical load to allow space for the outlets to set freely and arrive in good condition following their trip to the site.
- Properly stored outlet pipe.
- Outlets placed upright and secure from neighboring products.
- Parent pipe secured with timber to prevent movement.
- Improperly stored outlet pipe.
- Outlets should not be placed without care.
- Outlets should be upright and free of leaning stress.
- Never handle an outlet pipe by the outlet itself.
A major factor contributing to successful installation and testing of outlet pipe lies within handling them properly. Any and All pipe fabricated with an outlet requires extreme or additional care when handling and during storage. When handled and stored with care, coupled with following the recommended installation procedures and design details provided by the engineer you should not have any issues installing or achieving a pressure test on the pipe.
As we mentioned in the beginning, if you were already aware of information provided in this blog it had to be due to one of two reasons:
- Your local pipe representative. Regardless of your supplier, making sure you are aware of the importance of how to properly unload, store, and install the outlets is critical to your success. Be sure to consult with your local pipe representative if you have any questions.
- You are aware of how to properly unload, store, and install outlet pipes due to field experience and learning from the “school of hard knocks.”
Need Assistance With Your Waterworks Project?
McWane Ductile offers multiple services to our customers extending far beyond manufacturing DI pipe. From estimating to design, from production to installation, we take great pride in providing education and assistance to water professionals throughout the water industry.
Check out all our digital offerings:


